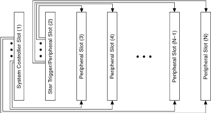
The PXI star trigger is a feature implemented on National Instruments PXI chassis. PXI chassis have a PXI trigger bus that is linked to all slots in the chassis. In addition, PXI chassis have a PXI star trigger that is linked to the system timing slot (Slot 2 on PXI chassis). The PXI star trigger is a high-performance trigger signal that you can use to synchronize all the devices in a chassis. You can also do this using the normal PXI trigger bus, but the PXI star trigger offers increased performance, specifically a propagation delay of no more than 5 ns and skew of no more than 1 ns.

The PXI star trigger lines allow a PXI star controller in Slot 2 to route signals to or from other peripheral slots with very low skew and at higher bandwidth than other PXI trigger lines.

When not using PXI star, you can use Slot 2 as a standard peripheral slot. However, when using PXI star, you must have a PXI star controller, (master) device in Slot 2, and one or more peripheral devices in the other slots.

If placed in a peripheral slot—Slot 3 or higher—all NI PXI signal generators can receive a signal from PXI star.

Additionally, an NI in a peripheral slot can be configured to route a signal onto the PXI star line if the PXI star trigger controller is configured to receive it.
Note   PXI Express signal generators in PXI Express chassis can import clocks on the PXI star line. However, PXI Express signal generators cannot import triggers or export clocks or triggers over the PXI star line.

Related Topics

PXI Modules